微信投票可以看见谁投的票吗
2025-11-26 17:06:36
第三方的微信投票系统,可以根据设置在后台查看投票人的IP信息,或者微信昵称和头像信息。
根据《微信外部链接内容管理规范》的内容,投票过程中是不允许留取个人的微信号,电话,姓名信息等内容,所以目前要投票平台没有做对应的功能。
用户可在后台登录首页,活动列表后方的统计中选择投票统计,

可选择选手,显示单位小时或者天的数据

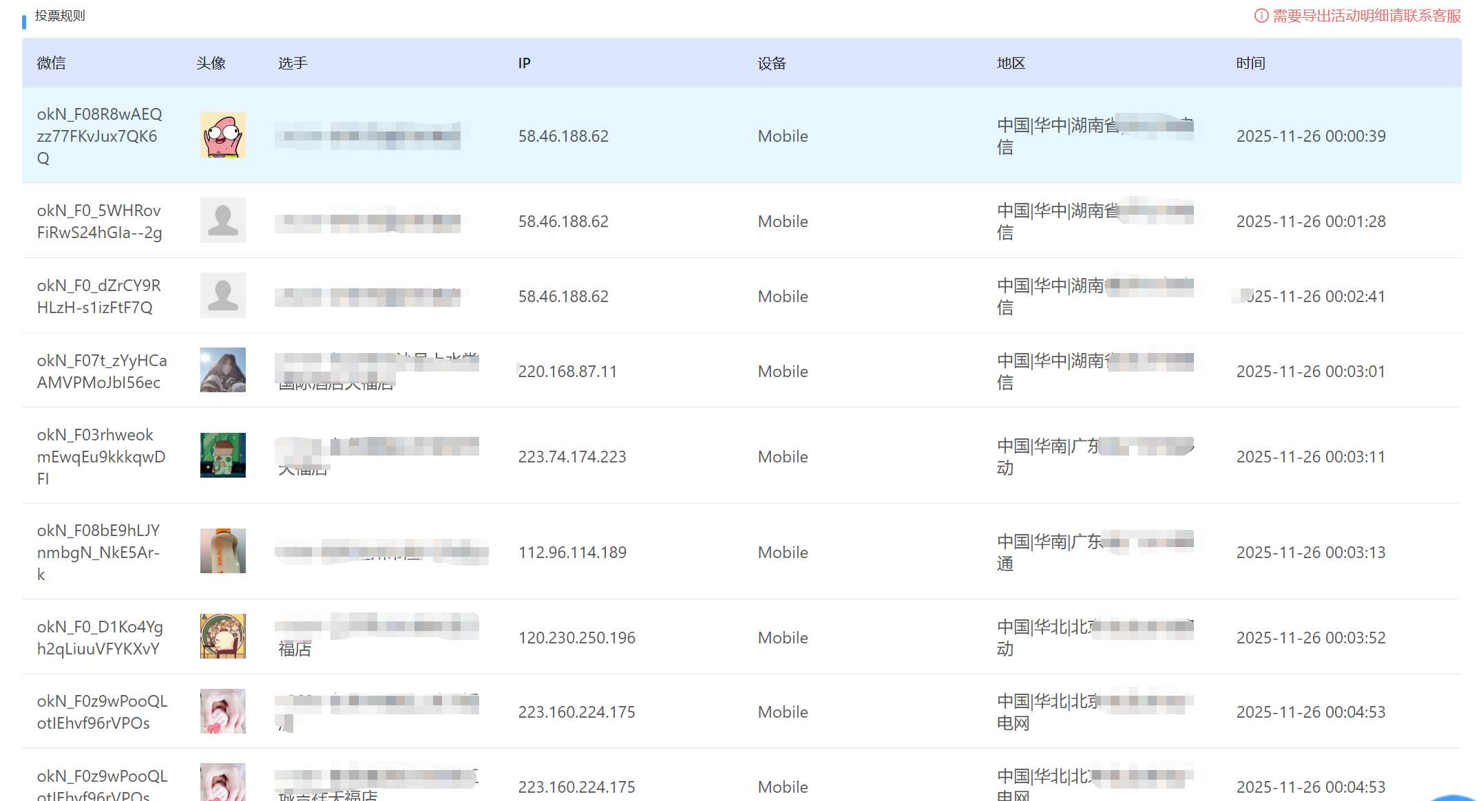
选择后下拉页面,即可看到投票人的明细。根据微信对应规则,目前只能显示到投票人微信昵称,头像,IP,投票时间等主要信息。

以上就是要投票查看投票人信息的方法,如有任何问题,请联系客服:153 8929 1662(微信电话同号)
本篇文章是否对您有所帮助呢?


